山西省民用建筑工程消防设计审查
难 点 解 析
(2025年版)
2025年12月
修 订 说 明
为统一指导建设工程消防设计审查工作,提高消防设计审查效率,依据《山西省住房和城乡建设厅关于下达 2024 年度厅课题计划的通知》(晋建科函[2024]282 号),对《山西省民用建筑工程消防设计审查难点解析(2022年版)》进行了修订,编制了《山西省民用建筑工程消防设计审查难点解析(2025年版)》(以下简称《解析》)。
本次修订遵循《建设工程消防设计审查验收管理暂行规定》(住房和城乡建设部令第 58号)《建设工程消防设计审查验收工作细则》(建科规〔2024〕3 号)《建设工程消防设计审查验收工作实施细则》(晋建消规字〔2024〕83 号)等规定,结合我省消防设计审查工作实际,广泛征求问题意见,反复讨论修改,经专家评审,省厅批准而成。
本次修订对《山西省民用建筑工程消防设计审查难点解析(2022年版)》进行了全面梳理,与现行规范协调一致,对部分条文进行了补充完善,并对征集的建筑工程消防设计审查疑难问题进行了分析、归纳、整理,对共性问题进行了解析。本次修订共计新增条文61条,删除条文33条,修订条文43条。
本《解析》由山西省住房和城乡建设厅负责管理,山西省消防技术站负责具体技术内容的解释。执行中如有意见和建议,请寄送至山西省消防技术站(太原市建设北路 85 号,邮编:030013)。
主编单位: 山西省消防技术站
山西省建筑设计研究院有限公司
主要起草人员:
山西省消防技术站:郭 创 杨 亚 成 飞 张 雯 冯 帅 段 斌成佼俐
山西省建筑设计研究院有限公司:
建 筑:杜艳哲 王淑芳 张伯仁 樊燕青 任 敏 任彦萍 薛清华
给排水:李 宁 金 丹 卫 莉 朱泽荣 冀艳蕾 杨广武
暖 通:朱宝仁 程 权 张 艳 王康成 杨明岳 田 晖
电 气:陈志萍 张晓燕 张 莉 王晓红 宋占强
主要审查人员: 张耀泽 王宗存 刘文利 单立欣 李俊民 武丽珍
姜 宁 郭丽静 路文渊
目 录
2 总平面布局和灭火救援设施.................................................................................. 6
1 建筑类型和范围
1.0.1 人员密集场所
是指人员密集的室内场所,包括公众聚集场所,医院的门诊楼、病房楼,学校的教学楼、图书馆、食堂和集体宿舍,养老院,福利院,托儿所,幼儿园,公共图书馆的阅览室,公共展览馆、博物馆的展示厅,劳动密集型企业的生产加工车间和员工集体宿舍,旅游、宗教活动场所等。
1、公众聚集场所
面对公众开放,具有商业经营性质的室内场所,包括宾馆、饭店、商场、集贸市场、客运车站候车室、客运码头候船厅、民用机场航站楼、体育场馆、会堂以及公共娱乐场所等。
2、公共娱乐场所
具有文化娱乐、健身休闲功能并向公众开放的室内场所,包括影剧院、录像厅、礼堂等演出、放映场所;舞厅、卡拉OK厅等歌舞娱乐场所;具有娱乐功能的夜总会、音乐茶座、酒吧和餐饮场所;飞镖、室内电动卡丁车场等游艺、游乐场所,情景体验类娱乐场所;保龄球馆、台球厅、棒球馆、旱冰场、桑拿浴室、汗蒸房等娱乐、健身、休闲场所,互联网上网服务营业场所。
注:
(1)银行营业厅、法院法庭消防设计参照公众聚集场所。
(2)工业企业中使用人数超过50人的宿舍、食堂等参照人员密集场所。
(3)情景体验类娱乐场所包括实景剧本类场所和桌面剧本类场所,实景剧本类场所包括密室逃脱、互动情景剧场、室内真人CS场所及相关类似场所,桌面剧本类场所包括VR模拟、剧本杀、推理社及相关类似场所。
情景体验类娱乐场所的消防设计按照山西省《情景体验类娱乐场所消防设计导则》。
(4)公共娱乐场所中所包括的歌舞娱乐放映游艺场所,主要为歌厅、舞厅、录像厅、夜总会、卡拉OK厅和具有卡拉OK功能的餐厅或包房、网吧、桑拿浴室的休息室和具有桑拿服务功能的客房、具有汗蒸功能的足疗店等场所,不包括电影院和剧场的观众厅。
【解决问题】明确一些特定场所、新业态的定性
1.0.2老年人照料设施
设计总床位数或老年人总数20床(人)及以上的为老年人提供集中照料服务的设施,包括老年人全日照料设施和老年人日间照料设施,属于公共建筑。其他专供老年人使用的、非集中照料的设施或场所,如老年大学、老年活动中心等不属于老年人照料设施,其防火设计要求按照有关公共建筑的规定确定。
1、老年人全日照料设施
为老年人提供住宿、生活照料服务及其他服务项目的设施,是养老院、老人院、福利院、敬老院、老年养护院等的统称。
2、老年人日间照料设施
为老年人提供日间休息、生活照料服务及其他服务项目的设施,是托老所、日托站、老年人日间照料室、老年人日间照料中心等的统称。
注:如老年人日间照料设施中设计总床位数或老人总数少于20床(人),消防设计应参照旅馆建筑设计。
3、老年人公寓等非住宅类的居住建筑
在非住宅用地上建设的老年公寓等居住建筑,应满足老年人照料设施的规定。
【解决问题】明确老年人照料设施的定性
1.0.3 儿童活动场所
儿童活动场所指供12周岁及以下婴幼儿和少儿活动的场所,包括幼儿园、托儿所中供婴幼儿生活和活动的房间,设置在建筑内的儿童游乐厅、儿童乐园、儿童培训班、早教中心、儿童福利院等儿童游乐、学习和培训等活动的场所,不包括小学学校教室等教学场所。
一个防火分区内总建筑面积小于50平方米且有家长陪伴的儿童活动的区域,可不按照儿童活动场所考虑独立疏散和防火分隔。
【解决问题】细化儿童活动场所的判定
1.0.4 医疗建筑
对疾病进行诊断、治疗与护理,承担公共卫生的预防与保健,从事医学教学与科学研究的建筑。
医院中急诊部、门诊部、住院部、医技科室、康复中心等按照医疗建筑相关要求进行消防设计;医院内保障系统、行政管理和院内生活用房、预防保健用房(体检中心)、科研用房教学用房等按照相应功能的防火规范进行消防设计。
对于无治疗功能的休养性质的疗养院、月子护理中心,应按照旅馆建筑进行消防设计,其中月子护理中心的疏散距离应按医疗建筑的病房部分要求执行。
【解决问题】明确医疗建筑及月子中心、体检中心等场所消防设计原则
1.0.5 商业服务网点
设置在住宅建筑的首层、首层及二层,每个分隔单元建筑面积不大于300平方米的百货店、副食店、粮店、邮政所、储蓄所、理发店、洗衣店、药店、洗车店、餐饮店等小型营业性用房和社区服务站(含居委会、治安联防站)、物流快递接收站、社区医疗卫生服务中心、公厕、物业管理与服务、社区警务室等居住区配套设施(社区文化活动中心、老年人日间照料设施、社区托育除外)。
住宅建筑主体投影范围外的商业设施,层数不超过2层,每个分隔单元建筑面积不大于300平方米,用途符合上述要求时,可按照商业服务网点设计。
商业服务网点各层层高须控制在5米及以下。
【解决问题】细化商业服务网点的定性
1.0.6 大型商业综合体:
总建筑面积(不包括住宅、写字楼部分)不小于50000平方米,以商业为主要功能并集购物、旅馆、餐饮、娱乐、展览、交通枢纽等两种及以上功能于一体的单体建筑和通过地下连片车库、地下连片商业空间、下沉式广场、连廊等方式连接的多栋商业建筑组合体。
【解决问题】明确大型商业综合体的定义
1.0.7 下列为民用建筑配套建设的独立设置的设备用房,与相邻建筑防火间距可参照相应火灾危险性类别的厂房确定:
【解决问题】独立设置的设备用房与相邻建筑之间防火间距确定原则
1.0.8 实训楼
进行职业实习和专业技术训练的建筑,如卫生职业技术学院中的老年人护理、医学院中的模拟病房、商贸学院中的模拟酒店客房、实训车间等。学校内的实训楼应按照教学建筑进行消防设计,其他类型的可参照教学建筑进行消防设计,丁、戊类实训车间内部可按照厂房设计。
【解决问题】实训楼的防火分类定性
1.0.9 公寓
住宅用地上的住宅式公寓按照住宅进行消防设计;学校、企业用于学生、员工等居住的公寓应按照宿舍进行消防设计;建设在商业用地的公寓(公寓式酒店、酒店式公寓、公寓式办公)应按照旅馆进行消防设计。
【解决问题】公寓的防火分类定性
1.0.10劳动密集型企业
生产厂房或仓库具有丙类火灾危险性,且同一时间的生产、作业人数超过50人,人均建筑面积小于20平方米的生产制造类企业或具有分拣、加工、包装作业功能的仓储物流类企业。
【解决问题】劳动密集型企业的定义
1.0.11 贵重精密医疗装备
包括伽马刀、电子束扫描诊断仪、磁共振成像仪、X线计算机断层扫描仪、数字减影血管造影装置、直线加速器、核素计算机断层显像仪等医疗设备。
【解决问题】《建筑防火通用规范》GB55037-2022第4.1.3-3条“贵重精密医疗装备”的细化说明
1.0.12 汽车4S店
集整车销售(Sale)、零配件供应(Sparepart)、售后服务(Service)、信息反馈(Survey)于一体的汽车销售服务场所。其消防设计应符合以下要求:
1、汽车4S店配套的修车库为Ⅱ类及以下时,可以和汽车营业厅贴邻建造;
2、汽车4S店整体应按公共建筑进行防火设计,汽车销售区、维修区及停车区等各功能区之间均应单独划分防火分区,并采用防火墙和甲级防火门窗进行防火分隔,不得采用防火卷帘代替;
3、汽车销售区可按大开间商业设计,汽车维修区和停车区应分别符合《汽车库、修车库、停车场设计防火规范》GB50067-2014中有关修车库和汽车库的规定;
4、汽车销售区、维修区和停车区的安全出口应分别独立设置。
【解决问题】明确汽车4S店消防设计原则
2 总平面布局和灭火救援设施
2.1防火间距
2.1.1 防火间距计算除应符合《建规》附录B外,尚应符合以下规定:
1、外墙上阳台无论开敞与否,防火间距均应从阳台栏板外边缘计算,如有保温层,应从保温层外皮计算;
2、建筑室外疏散楼梯,如采用不燃材料制作,且不影响消防车通行和灭火救援,防火间距可不考虑室外疏散楼梯。
【解决问题】细化防火间距的计算要求
2.1.2 当相邻两座建筑之间通过设置防火墙以满足防火间距不限或减少的条件时,应符合下列规定(图示1,2):
1、两座相邻建筑形成夹角小于90度时,最近门窗洞口之间的水平距离不应小于相应类别、高度和耐火等级建筑的防火间距;
2、两座相邻建筑形成夹角大于等于90度小于135度时,最近门窗洞口之间的水平距离不应小于6米;
3、两座相邻建筑形成夹角大于等于135度小于180度时,最近门窗洞口之间的水平距离不应小于4米;
4、两座相邻建筑形成夹角大于等于 180 度小于270度时,最近门窗洞口之间的水平距离不应小于2米;
5、两座相邻建筑形成夹角大于等于270度时,紧靠防火墙两侧的门、窗、洞口之间的距离不限;
6、当采用固定甲级防火窗时,间距不限。


【解决问题】 细化防火间距控制原则
2.1.3 住宅楼不同单元之间形成U型空间时,相对外墙上的门、窗、洞口之间距离不应小于6米。当确有困难不满足6米时,应符合以下要求:
1、相对外墙上的门、窗、洞口不正对开设,且该门、窗、洞口的面积之和不大于其所在墙面面积的5%时,其防火间距可减少25%;
2、当设置耐火极限不低于1.00h的防火隔板时,距离不限,防火隔板突出外墙的外边应与相对外窗的最外边平齐;
3、当两侧门、窗、洞口采用耐火完整性不低于1.00h的窗时,距离不限。该窗应设有易熔合金件或玻璃球等热敏感元件具备火灾自动关闭窗扇的功能。

【解决问题】住宅楼不同单元之间U型空间内防火间距控制原则
2.1.4 当非机动车、机动车坡道地下出入口未设置防火门、防火卷帘,或坡道设有排烟口时,坡道的地面开口边缘与地上相邻建筑外门窗之间的防火间距不应小于6米。
【解决问题】机动车(非机动车)坡道地面口部与地上建筑防火间距控制原则
2.1.5 机械式停车设施与相邻建筑的防火间距:当停车设备层数为2层及以下时,不应小于10米;当停车设备层数为3层及以上时,不应小于12米。
【解决问题】地面机械式停车设施防火间距控制原则
2.2消防车道和消防车登高操作场地
2.2.1 按《建规》第7.1.2条规定设置消防车道的建筑,其消防车道距离建筑外墙不宜小于5米、不应大于30米。
【解决问题】明确消防车道与建筑的最远距离
2.2.2 消防车可利用不规则的场地(可为丁字形,Y字型等满足消防车回车要求的场地)作为消防回车场地,场地直线段至交叉口交点的直线距离不应小于12米。

【解决问题】细化消防回车场的规定
2.2.3 消防车转弯半径是消防车外轮转弯半径。(引自《车库建筑设计规范》)
【解决问题】明确消防车转弯半径的计算原则
2.2.4 消防车道转弯半径和消防车回车场应根据建筑高度选用,单、多层建筑按照普通消防车选用,高层建筑按照登高消防车选用。
【解决问题】细化不同高度建筑消防车道和消防车回车场设置要求
2.2.5 消防车道及消防车登高操作场地应采用承载力满足要求的硬质铺装面层,不应采用植草砖(格)、草坪等隐形消防车道及消防车登高操作场地。
【解决问题】明确消防车道及消防车登高操作场地不可采用隐形地面
2.2.6 消防车登高操作场地原则上应设置在项目用地红线内,如设置在红线外时,应征得相关部门的认可(包括规划、建设、城管、交通、绿化等部门),并确保场地范围内无高大乔木、行道树及架空线路等影响消防车登高操作的障碍物。
【解决问题】明确消防车登高操作场地设置位置
2.2.7 消防车登高操作场地应沿建筑长边设置,当住宅建筑端头底部设有裙房时,裙房与住宅的搭接部位长度不应大于10米;当消防车登高操作场地设于公共区域一侧时,应能覆盖至各单元公共区域(附图1);当消防车登高操作场地设于住户侧时,面向场地的住户均应有外窗与场地对应(附图2)。
附图1
附图2
【解决问题】细化消防车登高操作场地的设置
2.2.8 建筑高度大于50米的高层建筑,消防车登高操作场地至建筑外墙距离不应小于5米,高度50米及以下的高层建筑,消防车登高操作场地至建筑外墙距离不宜小于5米。
当住宅建筑外墙有凹凸时,内凹部位宽度小于10米时,消防车登高操作场地至建筑外墙的距离按照设有外门窗的最外侧主体外墙起算。
对于连廊户型的住宅楼,连廊侧设有消防车登高操作场地时,内凹部位宽度不大于10米,深度不大于10米时,内凹范围内可设置高度不大于5米的门厅、商业等裙房。

【解决问题】住宅建筑外墙存在凹凸,消防车登高操作场地设置规定
2.2.9 单多层住宅消防车道的设计应符合《建规》GB50016-2014(2018年版)7.1.1条。
【解决问题】《通规》GB55037-2022第3.4.3规定,“住宅建筑应至少沿建筑的一条长边设置消防车道”,对于单多层住宅如何设置消防车道。
2.2.10 当在建筑投影范围内设有垂直于消防车登高操作场地的汽车库(坡道)出入口时,建筑外墙与消防车登高操作场地的距离不应小于6米,汽车疏散不应影响消防车的通行和灭火救援。

【解决问题】消防车登高操作场地与建筑外墙有汽车库(坡道)出入口的关系
2.2.11当消防车登高操作场地设置于两座建筑之间时,消防车登高操作场地边缘可贴邻非扑救建筑外墙,但非扑救建筑外墙上不应有突出外墙的雨棚、台阶、飘窗、空调板等影响消防车登高操作的构件;当两座建筑均应设置消防车登高操作场地时,可以共用消防车登高操作场地。

【解决问题】共用登高车操作场地的要求
2.2.12 高层建筑与消防车登高操作场地相对应的范围内,应设置至少一个直通室外的楼梯或直通楼梯间的入口,入口可为通往楼梯间的门厅、走道,入口至楼梯间的距离应不大于30米。
【解决问题】高层建筑与消防车登高操作场地相对应的范围内,直通楼梯间入口的距离规定
2.2.13 规范未规定消防登高操作场地及消防车道设置具体要求的建筑,消防救援口的设置位置应有利于消防救援。
【解决问题】 对于规范未明确规定消防登高操作场地及消防车道设置要求的建筑,消防救援口的设置要求。
2.2.14 对于室内无车道且无人员停留的地上机械车库,当设有混凝土楼板时,应设置消防救援口。
【解决问题】室内无车道且无人员停留地上机械车库消防救援口设置要求。
2.2.15 采用机械加压送风防烟的楼梯和前室外窗、应急排烟窗不应作为消防救援口。
【解决问题】细化消防救援口的设置要求。
2.2.16 厂房、仓库和公共建筑的每个防火分区至少应设置两个直通走道、公共区域(可利用公共卫生间、非加压送风的楼梯间及前室的开口)或大空间区域的消防救援口,不靠外墙的防火分区需考虑通过相邻防火分区进行消防救援。

【解决问题】不靠外墙的防火分区消防救援口的设置要求
2.3消防电梯
2.3.1 当住宅建筑与公共建筑上下合建时,住宅部分和公共建筑部分的消防电梯配置,可根据各自的建筑高度分别执行《建规》有关住宅建筑与公共建筑的规定;为住宅部分设置的消防电梯不应在公共建筑部分(包括商业网点)停靠。
【解决问题】住宅与非住宅合建时消防电梯的停靠问题。
2.3.2 当建筑由不同功能组合建造时,按照建筑总高度设置消防电梯,各部分功能可分别设置消防电梯,消防电梯应在所服务的区域层层设置,并应设置明显的标识。
【解决问题】不同功能组合建造的建筑分区域设置消防电梯的要求。
2.3.3 除《通规》第2.2.6条规定外,裙房可不设消防电梯。
【解决问题】明确裙房消防电梯设置要求。
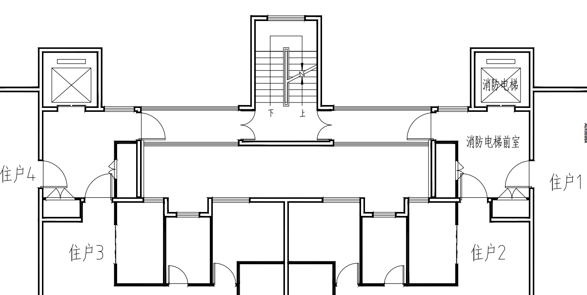
2.3.4 消防电梯前室短边长度不应小于2.4米,在此范围内不应设置影响救援的障碍物。住宅楼梯间共用前室与消防电梯前室合用时,合用前室短边不应小于2.4米,当合用前室不规则时,应保证消防电梯井道对应空间短边尺寸不应小于2.4米。
【解决问题】细化消防电梯前室或三合一前室净尺寸的规定
2.3.5 消防车道与消防车登高操作场地与建筑之间设有乔木或路灯时,高度不应大于4米。
【解决问题】消防车道与消防车登高操作场地与建筑之间设有乔木的高度要求。
3 建筑高度和防火分区
3.0.1 建筑高度的计算补充如下:
1、建筑屋面为平屋面时,建筑高度为建筑室外设计地面至屋面面层的高度,当屋面坡度5%及以下时,屋面面层计算至外墙边缘屋面面层,当屋面坡度5%以上时,应按照坡屋面的计算规则计算。
住宅楼屋面为平屋面时,建筑高度可算至屋面结构面层。
2、剧场主舞台、会议厅、影院等由于使用功能要求局部升高而在屋面不开设出入口的部分,此凸出部分与其他局部凸出屋面的楼电梯等用房面积之和不超过屋面面积的1/4时,可不计入建筑高度。
【解决问题】细化建筑高度计算规定
3.0.2 符合《建规》第5.3.5条要求的地下商业与汽车库之间应采用不开设门窗洞口的防火墙分隔,若需连通时,应采用下沉式广场等开敞区域、避难走道、防火隔间等连接。
【解决问题】明确地下商业与汽车库之间的防火分隔要求
3.0.3 地下汽车库设有自动灭火系统时,一个防火分区内变配电站、换热站、水泵房等设备用房(不含为车库服务的防排烟机房)总建筑面积不应超过400平方米;未设有自动灭火系统时,一个防火分区内变配电站、换热站、水泵房等设备用房(不含为车库服务的防排烟机房)总建筑面积不应超过200平方米。
【解决问题】地下车库内按照车库要求划分的防火分区内,设置的设备用房面积控制原则
3.0.4 民用建筑内仅可设置直接为本建筑使用功能服务的附属库房,不应设置其他库房。除规范另有规定(如博物馆库房、档案馆库房、书库等),商场地下集中库房外,民用建筑内附属库房,其防火分区建筑面积按《建规》表5.3.1执行,但应按照《建规》第6.2.3条要求采取严格的防火分隔措施。
【解决问题】民用建筑内附属库房防火设计原则。
3.0.5 剧场舞台台仓与舞台为一个防火分区,其防火分区面积应按照地下设备用房的面积来控制。
【解决问题】剧场舞台台仓与上部相通,防火分区面积控制原则
3.0.6 闷顶内设有水箱间、电梯机房、防烟机房等设备用房时,应按照6.2.7要求进行防火分隔后,可不划分防火分区。
【解决问题】闷顶内设置机房时的消防设计原则
3.0.7 《通规》中埋深指地下室最低一层楼地面面层至首层楼梯间出口处室内地坪的高度。
【解决问题】明确地下室埋深的规定
3.0.8 由室外平台联系并通过室外平台疏散的多栋2、3层商业,可按防火分区(室外平台部分计入)面积分组,组内建筑间距可不限,组与组之间的间距不应小于6米。
【解决问题】由室外平台联系的商业步行街,各建筑单体之间防火间距
4 平面布置
4.0.1 《建规》第5.4.13条第3款关于设置在民用建筑内的柴油发电机房储油间总储存量不应大于1m³的规定,是指单个储油间的总储存量,对于建筑内允许设置的储油间数量未作规定。
【解决问题】细化民用建筑内的柴油发电机房储油间设置规定
4.0.2 高层住宅建筑的天井不宜设置四面封闭的内天井。当同一单元中天井设置为U型且以连廊联系时,其开口处相对距离不应小于4米;连廊为敞开式连廊时,连廊周边2米范围内不应开设与疏散无关的门、窗、洞口,如开设此类门窗,应为耐火完整性不低于1.00h的防火玻璃窗。

【解决问题】同一单元以连廊联系的户型两个前室之间的间距要求
4.0.3 除住宅建筑的防烟楼梯间前室、消防电梯前室、合用前室外,其他封闭楼梯间、防烟楼梯间、前室内的墙上不应开设除疏散门和送风口外的其他门、窗、洞口。
【解决问题】疏散楼梯间、前室开设洞口的原则
4.0.4 公共建筑首层具有多个出入口的扩大前室可作为该建筑多部防烟楼梯间的共用前室,前室内设置的设备管井在本层及以下各层的检修门均不应低于乙级防火门。
【解决问题】公共建筑首层多部疏散楼梯共用前室直通室外的规定
4.0.5 中庭
1、当中庭贯穿的各层面积叠加计算,不超过一个防火分区时,中庭可按照正常功能空间进行防火设计。(图示1)

图示1
2、当中庭与其贯穿的首层面积叠加计算,不超过一个防火分区时,中庭可按照正常功能空间进行防火设计,但与周边连通空间应采用防火墙和耐火极限不低于3h的防火卷帘进行分隔,防火卷帘开设长度可不受限制。回廊上的人员可借用通向相邻防火分区的安全出口疏散,借用安全疏散宽度不应大于本防火分区总疏散宽度的30%,且整层的疏散宽度应满足规范要求。(图示2)

图示2
3、当中庭在各层采用《建规》5.3.2第1款防火分隔措施与周围连通空间进行防火分隔,并满足《建规》5.3.2第2、3、4款的相关要求时,中庭为一个独立的防火单元,无论面积大小,均不需再划分防火分区。(图示3)
图示3
【解决问题】梳理多种情形下的中庭消防设计原则
4.0.6 丙、丁类厂房附属的办公室、休息室等用房的面积,不宜超过该厂房总建筑面积的15%。
【解决问题】丙、丁类厂房内非生产附属用房面积限制要求
4.0.7 住宅建筑楼梯通向地下室(功能是为住宅服务的储藏室、设备用房)时,楼梯宽度、前室面积等可按照住宅建筑要求设计。
【解决问题】住宅建筑地下室楼梯、前室消防设计原则
4.0.8 民用建筑内设置的采用燃气的厨房应靠外墙设置,能自然通风、防爆泄压,通风面积、泄爆面积均无要求。
【解决问题】明确采用燃气、液化石油气的厨房通风、防爆泄压要求。
5 安全疏散和避难
5.0.1 地下车库人员安全出口的设置应符合《汽车库、修车库、停车场设计防火规范》GB50067-2014(以下简称《车规》)中第6.0.2条的要求,当确有困难,可共用位于两个防火分区交界处的楼梯间进行疏散,但应符合以下要求:
(1)各防火分区内设有至少一个独立的安全出口;
(2)共用同一楼梯间的防火分区不应超过2个;采用共用楼梯间的防火分区数量不应超过总防火分区数量的1/2。
(3)通向共用楼梯间的门应为甲级防火门,当楼梯间为防烟楼梯间时,应在楼梯间前分别设置防烟前室,当楼梯间为封闭楼梯间时,应在楼梯间分别设置防火隔间。
【解决问题】汽车库中共用疏散楼梯间的设置要求。
5.0.2 多层公共建筑一个防火分区内从任意疏散门至最近疏散楼梯间入口的距离不大于10米时,疏散楼梯可采用剪刀楼梯作为2个安全出口使用,但应符合《建规》第5.5.10条的要求。当公共建筑中商场、展厅等采用剪刀楼梯间并作为一个安全出口使用时,该剪刀楼梯两个梯段之间可不设置防火隔墙。当剪刀楼梯两个梯段之间采用耐火极限不小于2.00h不燃材料完全分隔时,可以作为两个安全出口。
【解决问题】多层公共建筑采用剪刀楼梯作为安全出口的设置条件。
5.0.3 商业服务网点疏散楼梯形式可不限,但应符合下列规定:
1、商业服务网点的疏散楼梯宽度不应小于1.1米,疏散外门的净宽不应小于1.1米;
2、当商业服务网点设置封闭楼梯间时,封闭楼梯间在首层应直通室外,二层的疏散距离可算至楼梯间的门;
3、当商业服务网点设置敞开楼梯时,二层的疏散距离应算至首层直通室外的外门,楼梯按照投影长度的1.5倍计算。
【解决问题】商业服务网点安全疏散设计原则。
5.0.4 如利用符合《建规》第6.6.4条的连廊、天桥作为安全出口,并计入疏散宽度时,计入的疏散宽度不应大于本防火分区所需疏散总净宽度的30%。如连廊为封闭连廊,通向连廊的门应为乙级防火门,且连廊2米范围内不应开设门窗洞口。
【解决问题】天桥、连廊作为安全出口时的防火要求。
5.0.5 展览厅、多功能厅、餐厅、营业厅、观众厅等疏散门不能直通室外或疏散楼梯间时,除可执行《建规》第5.5.17条第4款规定外,也可执行《建规》 第5.5.17条第1款和第3款的要求。
【解决问题】大空间疏散距离的计算原则。
5.0.6 老年人照料设施、儿童福利用房按照住宅单元布置,每套使用人员不超过5人时,可设置1个疏散门,套内疏散距离应符合《建规》第5.5.29条的规定,安全出口的设置应符合《建规》第5.5.25条的规定。
【解决问题】采用住宅形式布局的老年人照料设施、儿童福利用房等建筑安全疏散设计原则
5.0.7 歌舞娱乐放映游艺场所中每个房间内任一点至房间直通疏散走道的疏散门的直线距离不应大于9米,当其中的房间具有至少2个不同方向的疏散门且均为安全出口时,该房间内任一点至安全出口的直线距离不应大于18米。当该场所设置自动喷水灭火系统时,房间内任一点至最近安全出口的安全疏散距离可增加25%。
【解决问题】歌舞娱乐放映游艺场所采用大空间时疏散距离的规定
5.0.8 当首层采用扩大封闭楼梯间、扩大前室直通室外时,直通室外的门至疏散楼梯间门或者疏散楼梯梯段的距离不应超过30米。
【解决问题】扩大封闭楼梯间、扩大前室疏散距离的限制要求
5.0.9 消防水泵房、消防控制室疏散门按照《建规》第8.1.6条通过疏散走道直接连通到进入疏散楼梯间或直通室外的门时,该疏散走道两侧的房间门应不低于乙级防火门,且消防水泵房、消防控制室疏散门距离疏散楼梯间或直通室外的门不应超过15米。
【解决问题】 按照规范要求“直通室外”的设备用房疏散设计要求
5.0.10 商业综合体中的影院疏散宽度百人指标应按照《建规》第5.5.21条的规定计算,单独建造的影院疏散宽度百人指标应按照相应建筑标准计算。
【解决问题】电影院疏散宽度计算原则
5.0.11 不同场所计算疏散人数时,可按下述方式计算:
1、电影厅观众厅疏散人数按实际座位数的1.1倍计算,电影厅候场厅疏散人数宜按照0.75人/㎡计算;设置在其他建筑的有固定座位的场所(会议室等,不包括学校教室),其疏散人数应按实际座位数的1.1倍计算;
2、办公场所疏散人数按《办公建筑设计标准》JGJ/T67-2019相关规定执行;
3、歌舞娱乐放映游艺场所计算疏散人数时,可按厅室建筑面积计算,疏散走道面积不计入在内;
4、餐厅应明确餐厨布置,当餐厅未设置固定座位时,应依据《饮食建筑设计标准》JGJ64-2017规定的人员密度计算疏散人数;
5、游泳池、桑拿浴室的疏散人数可按照更衣柜数量的 1.1 倍计算;
6、健身房疏散人数可按照4㎡/人计算。
【解决问题】明确各类场所疏散人数的计算原则
5.0.12 由多个高度不同的单元组成的住宅建筑,各单元之间采用防火墙分隔,
较低单元屋顶无天窗或洞口(不包括屋面透气管、通风口)、屋顶耐火极限不小于1.00h时,可按各独立单元的高度来确定其楼梯间形式、消防电梯的设置。
建筑高度大于27米,但不大于54米的单元式住宅建筑,每个单元设置一座疏散楼梯时,疏散楼梯应通至屋面,且单元之间的疏散楼梯应能通过屋面连通。当两个单元高差超过2层,连通确有困难,相邻单元之间采用防火墙分隔,防火墙两侧外墙上门、窗、洞口之间距离符合《建规》6.1.3、6.1.4规定时,可不连通。
【解决问题】不同高度的住宅单元楼电梯设计原则
5.0.13 汽车库与托儿所、幼儿园、中小学校的教学楼、老年人建筑、病房楼等组合建造时,疏散楼梯应分别独立设置,其疏散外门之间的直线距离不应小于《建规》第6.1.3、6.1.4条规定的2米、4米。
【解决问题】汽车库与与托儿所、幼儿园、中小学校的教学楼、老年人建筑、病房楼合建时,首层楼梯间外门之间距离要求。
5.0.14 除剪刀楼梯间的共用前室、两个采用室外敞开式连廊连通的前室、独立的消防电梯前室外,不应穿过一座疏散楼梯间的前室进入另一座疏散楼梯间的前室。
图示1(√)
图示2(√)
【解决问题】住宅建筑安全疏散关于前室穿套的认定(图示可不认为前室穿套)
5.0.15 住宅楼首层扩大前室可作为该建筑多部楼梯间的共用前室,户门不应直接开向该共用前室。

【解决问题】住宅首层多部疏散楼梯共用前室的规定。
5.0.16 建筑底部设有室外架空层时,当外门至架空层顶板边缘的距离不大于架空层开口净高时,该外门可作为直通室外的安全出口。当架空层空气对流条件好,烟气不易于集聚,可根据具体情况分析论证确定其是否可作为室外安全区域。架空层内安全出口通行的区域不应有可燃物,且不能做为其他用途。
【解决问题】室外架空层作为安全出口的判定条件。
5.0.17 防火分区面积不超过1000平方米的地下设备用房防火分区内应至少设有一部独立的疏散楼梯间,除按照《建规》第5.5.9条规定利用通向相邻防火分区的甲级防火门作为第二安全出口外,也可利用开向汽车库防火分区的甲级防火门作为第二安全出口。
【解决问题】 地下设备用房防火分区可借用通向地库防火分区作为第二安全出口的规定。
5.0.18 《车规》第6.0.7条规定汽车库可以利用住宅地下室疏散楼梯间进行疏散,利用同一部住宅疏散楼梯间的汽车库防火分区数量不应超过1个。汽车库与住宅疏散楼梯间之间连通走道可利用住宅楼内的疏散走道(可不再防火分隔),该疏散走道应采用耐火极限不低于2h的防火隔墙分隔,两侧房间的门均应不低于乙级防火门。
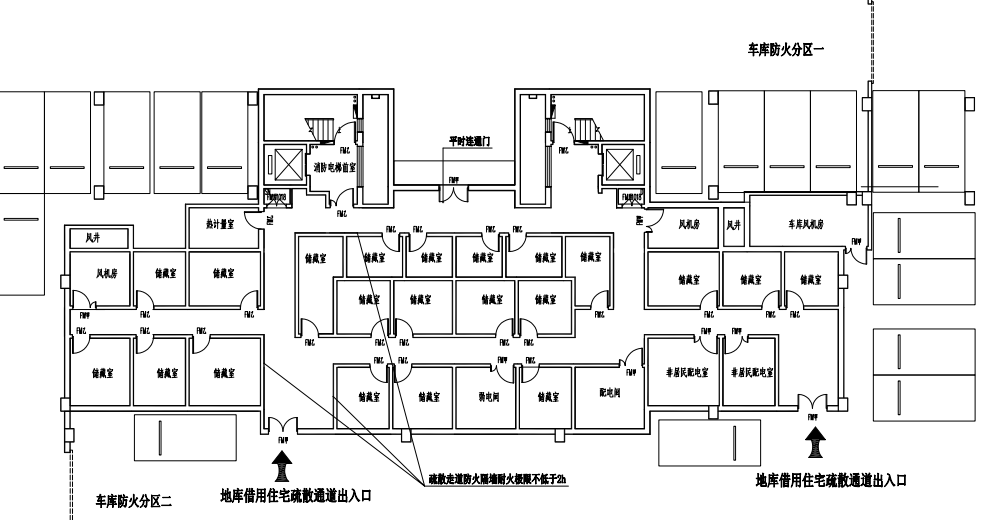
【解决问题】车库借用住宅楼梯进行疏散时,疏散走道设置要求。
5.0.19 建筑中仅服务于其中部分楼层的疏散楼梯,其疏散楼梯形式、每百人的最小疏散净宽度可根据所服务楼层的使用功能及高度、层数或埋深等确定。仅服务于四层及以下楼层的楼梯间,该功能区域与其他区域采用耐火极限不低于2.00h且无开口的防火隔墙分隔后,楼梯间首层距直通室外安全出口的距离不应超过15米。
【解决问题】疏散楼梯按服务楼层确定其形式、宽度及距离的规定
5.0.20 汽车坡道不需划分防火分区、可不考虑疏散距离。
【解决问题】汽车坡道是否考虑防火分区及疏散距离
5.0.21 汽车停车位的设置不得影响消防设备用房、室内消火栓箱、消防管道井的正常使用。地下车库内最远疏散直线距离的计算不必考虑车辆对路线的阻挡,但应考虑实体墙、机械式停车装置等障碍物对路线的阻挡。
【解决问题】汽车停车位、停车形式对人员疏散的影响
5.0.22 大开间自行车库室内最远点到疏散出口的直线距离应按照《建规》第5.5.17-3条确定。
【解决问题】自行车库内疏散距离的规定
5.0.23 一、二级耐火等级建筑的疏散内走道两侧的墙应为耐火极限不低于 1.00h的墙,除规范另有规定外,墙上的门可为普通门。当墙上设置普通门窗的面积超过门窗所在房间墙面面积(含门窗面积)的50%时,或疏散走道两侧采用(部分或全部)耐火极限低于1.00h的玻璃隔墙时,从房间内任一点至最近的安全出口的疏散距离分别不应大于 《建规》第5.5.17条第3款和第4款的要求。
【解决问题】疏散走道两侧隔墙设置普通窗的限制要求
5.0.24 综合建筑内儿童活动场所的疏散距离应满足托儿所、幼儿园疏散距离的相关规定。
【解决问题】综合建筑内儿童活动场所疏散距离的规定。
5.0.25 两层及以下联排商铺(非商业网点)的安全出口的设置可选择下列措施之一:
1、按照《建规》第5.5.8条的规定设置安全出口。每套商铺与相邻商铺外墙开口之间水平距离应不小于1米。
2、按照《建规》第5.5.15条的规定设置安全出口。上层建筑面积不大于120平方米时,可设置1个疏散出口通向下层,每套商铺上下层总建筑面积超过120平方米时,整套商铺需设置2个以上安全出口。
3、当采用开敞楼梯联系上下两层空间时,应保证最远点至首层外门的疏散距离(开敞楼梯按投影长度的1.5倍计算)不应大于22米,设有自动喷水灭火系统时,不应大于27.5米。
【解决问题】两层联排商铺安全出口及疏散距离设置要求。
5.0.26 当裙房与高层建筑主体之间设置防火墙(可在主体投影内),防火墙上的开口采用甲级防火门、窗且裙房部分独立疏散时,其疏散距离、疏散宽度可按单、多层建筑的要求确定。
【解决问题】裙房与主体分防火隔后安全疏散设计原则。
5.0.27 楼梯宜通至屋面,高层建筑通至屋面的楼梯数量不应少于2部且每个防火分区不少于1部。
【解决问题】细化通至屋面的楼梯间设计要求。
5.0.28 建筑内休息厅、候诊厅等开敞空间当具备双向疏散条件时,任一点至最近安全出口的疏散距离不应大于30米,设置自动喷水灭火系统时,不应大于37.5米。
【解决问题】开敞空间可执行大空间疏散距离的要求。
5.0.29 《通规》7.1.7规定门开启后不能影响走道和疏散楼梯宽度的房间,可不包含库房、设备用房、无障碍卫生间、管井门等。
【解决问题】明确可不认为开启后影响疏散走道和疏散楼梯宽度的房间。
5.0.30 楼梯梯段净宽计算时可算至扶手中心线。
【解决问题】楼梯梯段净宽计算原则。
5.0.31 住宅敞开楼梯间内可开设管道井检查门。
【解决问题】针对《通规》第7.1.8-5,明确住宅敞开楼梯间要求。
5.0.32 《通规》7.1.4中“首层疏散外门”是针对门厅、走道等对外的门,不含首层功能房间开向室外的门、楼梯间分别直接开向室外的门。
【解决问题】明确“首层疏散外门”范围。
5.0.33 3层及以下的排屋、别墅及其他住宅建筑的户内楼梯可采用敞开楼梯,该楼梯地下与地上部分在首层可不作防火分隔。但应满足以下要求:
1、排屋、别墅直通室外的安全出口应设置在离该楼梯小于等于15米 处;
2、排屋、别墅户内任一点到室外出口的距离不应超过 30米,其他住宅户内任一点到直通疏散走道的户门的距离应符合《建筑设计防火规范》第 5.5.29 条第3款的规定,其中楼梯疏散距离按其水平投影1.5 倍计算;
3、户内楼梯宽度可按《住宅设计规范》GB 50096 关于套内楼梯的要求执行。
【解决问题】 排屋、别墅等住宅内采用敞开楼梯时户内疏散距离的确定
5.0.34当地上敞开楼梯间与地下室封闭楼梯间在首层采用耐火极限不低于2.00h的防火隔墙和乙级防火门进行防火分隔后,可以通过同一个门厅(与地上敞开楼梯间连通)直通室外。
【解决问题】 地上敞开楼梯间与地下封闭楼梯间防火分隔要求。
6 建筑构造
6.0.1 同一建筑存在不同高度的屋面(含地下室顶板),下部建筑的顶板设有采光口、通风排烟口等开口时,该顶部开口与上部建筑开口之间的水平距离应不小于6米。当上述开口采取防火分隔措施时或开口背向建筑物时,开口与上部建筑的距离可不限,当通风、排气口设置防火阀时,开口与上部建筑的距离可不限。
【解决问题】屋面上的开口与建筑主体防火间距的规定
6.0.2 根据规范要求,下列场所不应采用防火卷帘:
1、《建规》第5.5.9-1条“利用通向相邻防火分区的甲级防火门作为安全出口时,应采用防火墙与相邻防火分区进行分隔”,不应采用防火卷帘、防火分隔水幕等措施替代;
2、儿童活动场所和影院等规范明确要求用防火隔墙分隔的场所均不应采用防火卷帘进行防火分隔;
3、封闭楼梯间、防烟楼梯间及其前室(含扩大前室、扩大封闭楼梯间)等均不应设置防火卷帘。
【解决问题】 防火卷帘使用的限制要求
6.0.3 除规范明确规定外,直接开向室外的设备机房门、楼梯间门等,均可采用普通门。
【解决问题】外门是否设防火门的问题
6.0.4 疏散楼梯间、前室外墙上的窗口与两侧除疏散楼梯、前室外其他房间的门、窗、洞口最近边缘的水平距离不足1米时,可采用设置乙级防火门窗等措施,防止烟气通过外墙上的门窗洞口侵入楼梯间和前室。当楼梯间、前室与楼梯间、前室相邻时,外门窗之间距离可不限。
当楼梯间采用自然通风防烟方式时,乙级防火门窗应设置在相邻房间外墙上;当楼梯间采用机械加压送风防烟方式时,除可在相邻房间外墙上设置乙级防火门窗外,也可在楼梯间外墙上设置火灾时自动关闭或固定的乙级防火门窗。
【解决问题】细化楼梯间、前室外墙上开口与相邻房间开口之间距离的规定
6.0.5 当防火墙两侧外墙上门、窗、洞口之间最近边缘的水平距离不符合规范要求时,采取设置乙级防火门窗防止火灾蔓延,乙级防火门窗可一侧设置,应保证防火墙两侧非防火门窗最近边缘的水平距离符合规范要求。
【解决问题】细化防火墙两侧外墙上门、窗、洞口的距离的规定
6.0.6 住宅和非住宅合建建筑外墙外保温系统应根据总高度执行公共建筑相关防火要求。
【解决问题】住宅和非住宅合建建筑外墙外保温系统的执行标准
6.0.7 当防火门采用子母门时,小扇门宽度应不小于0.4米且应安装闭门器和顺序器,当小扇门被插销等固定时,其宽度不应计入疏散宽度。
【解决问题】防火门采用子母门的限制条件
6.0.8 住宅楼上下两层阳台(含开敞阳台)开口之间的窗槛墙高度应满足《建规》6.2.5的要求。
【解决问题】细化上下两层阳台之间窗槛墙的规定
7 消防给水和灭火设施
7.1 消防水源及消防设计流量
7.1.1 医院的门诊、医技、住院楼合建的医疗建筑火灾延续时间可按2h计算。
【解决问题】合建的医疗建筑火灾延续时间取值。
7.1.2 建筑的地下室,除地下车库、设备用房、储藏室以及住宅配套的自行车库外,室内、室外消火栓设计流量执行《消防给水及消火栓系统技术规范》GB50974-2014(以下简称《消水规》)表3.3.2、表3.5.2中地下建筑的规定。
【解决问题】建筑的地下室室内、室外消火栓设计流量的确定。
7.1.3 地下建筑、人防工程符合《消水规》第3.5.3条的要求,室内消火栓设计流量不应折减。
【解决问题】地下建筑、人防工程室内消火栓设计流量的确定。
7.1.4 除商业服务网点外,住宅建筑与其他使用功能的建筑合建时,当建筑下部(其他使用功能)的自动灭火系统符合全保护的要求时,其室内消火栓设计流量可按《消水规》第3.5.3条的要求折减。
【解决问题】住宅建筑与其他使用功能的建筑合建时室内消火栓设计流量的确定。
7.1.5 除商业服务网点外,住宅建筑与其他使用功能的建筑合建时,火灾延续时间应符合以下要求:
1、当底部的建筑高度大于24m时,为3h;
2、当底部为多种功能组合且建筑高度小于等于24m时,为3h;
3、当底部为单一功能且建筑高度小于等于24m时,为2h。
【解决问题】明确住宅建筑与其他使用功能的建筑合建时,火灾延续时间的取值。
7.1.6 消防水池、高位消防水箱进水管口最低点高出溢流边缘的空气间隙不应小于150mm。
【解决问题】明确消防水池、高位消防水箱进水管口最低点距溢流水位的距离。
7.1.7 多种功能组合的单、多层建筑消防设计流量应符合以下要求:
1、不同使用功能的场所,其防火分区完全独立,室内消火栓设计流量可分别按不同类别的高度、体积和座位数对照 《消水规》表3.5.2选取,取最大值作为室内消火栓设计流量;
2、不同使用功能的场所,未独立设置防火分区,对照《消水规》表3.5.2中的不同功能按建筑总高度、总体积和总座位数分别计算,且选取最大值作为室内消火栓设计流量;
3、室外消防用水量应按建筑的总体积确定。
【解决问题】多种功能组合的单、多层建筑室内、室外消火栓设计流量的确定。
7.1.8 除地下为车库的建筑外,建筑体积计算应含地下室的体积。 【解决问题】明确建筑体积的计算方法。
7.2 室内、室外消火栓系统
7.2.1 单独建造的不超过二层和设置在其他建筑的首层或首层及二层(商业服务网点除外),每个分隔单元建筑面积不大于300m2的商店、邮政所、储蓄所、理发店等小型营业性用房,消火栓可按以下方式布置:
1、当为一层时,每个商铺内可设置一个消火栓,消火栓应设置在商铺户门附近,相邻商铺内的消火栓可互相借用;
2、当首层和二层设有内楼梯时,每个商铺内首层及二层可各设一个消火栓,且消火栓应设置在户门和楼梯口附近。
3、当首层和二层不设有内楼梯,且二层设有连廊时,首层消火栓可按照第1条设置,二层消火栓应首选设置在连廊等公共区域,并满足二股充实水柱同时到达任何部位。
【解决问题】每个分隔单元建筑面积不大于300m2的小型营业性用房室内消火栓布置原则。
7.2.2 单、多层建筑同时满足以下条件时,可采用消防水池取水口代替室外消火栓:
1、当室外消火栓不直接用于灭火且建筑室外消防给水设计流量不大于30L/s;
2、建筑处于消防水池保护半径内,消防水池取水口的数量不少于规范要求的室外消火栓数量;
3、消防水池取水口与建筑物外墙、外边缘和道路路沿的距离满足消防车在消防救援时安全、方便取水和供水。
【解决问题】单、多层建筑采用消防水池取水口代替室外消火栓,不设室外消防加压泵及供水管网。
7.2.3 采用减压阀分区的消防系统,如采用比例式减压阀,减压阀后系统工作压力应依据阀前系统工作压力按比例确定;如采用可调式减压阀,减压阀后系统工作压力应按阀后设定压力确定。
【解决问题】减压阀后的消防系统工作压力确定原则。
7.2.4 汽车库室内消火栓布置应符合以下要求:
1、应首选设置在汽车通道侧;
2、其次可设置在紧邻汽车通道的车位之间柱子的内侧,但应保证消火栓门开启不应小于120°;
3、机械车库不应设置在紧邻汽车通道的车位之间柱子内侧。
【解决问题】汽车库室内消火栓布置原则。
7.2.5 室内消火栓应首选设置在楼梯间或防烟楼梯间前室。
【解决问题】室内消火栓布置原则。
7.2.6 古建筑、文物保护建筑的室内消火栓设置可按照室内消火栓布置的原则在室外设置。
【解决问题】古建筑、文物保护建筑的室内消火栓布置原则。
7.2.7 设置室内消火栓的建筑不得使用双出口消火栓。
【解决问题】明确室内消火栓不得使用双出口消火栓。
7.2.8 设有稳压泵的消防给水系统,屋顶消防水箱出水管上的流量开关可设置在水箱重力出水管上或水箱重力出水与稳压泵出水的汇合管上。
【解决问题】明确屋顶消防水箱出水管上流量开关的设置位置。
7.2.9 建筑群集中供水系统的水泵接合器设置应符合以下要求:
1、依据《消水规》第5.4.4条的要求,每座建筑附近就近设置水泵接合器;
2、消防各系统的水泵接合器应分散布置,每栋建筑40米范围内至少有一套水泵接合器,且相邻建筑可共用。
【解决问题】建筑群集中供水系统的水泵接合器设置原则。
7.2.10 室内消火栓系统采用水平环网布置时,系统管道布置及阀门设置应保证每个防火分区在检修时至少有1支消防水枪的1股充实水柱到达室内任何部位。
【解决问题】室内消火栓系统采用水平环网布置时的阀门设置原则。
7.3 消防水池、消防泵房、消防排水
7.3.1 采用两格或两座消防水池的吸水总管,每格或每座水池内的吸水总管数量不应少于两根。

7.3.1附图一双池吸水管布置图 7.3.1附图二双池设吸水总管布置图
【解决问题】采用两格或两座消防水池的吸水总管布置方式。
7.3.2 消防水池有效容积小于500m3及设置共用吸水井的消防水池,消防水泵吸水管布置原则应采用单泵单吸的方式吸水。
7.3.2附图一单池吸水管布置图 7.3.2附图二双池设共用吸水井布置图
【解决问题】消防水池有效容积小于500m3及设置共用吸水井的消防水池,消防水泵吸水管布置方式。
7.3.3 消防电梯集水坑有效储水容积不应小于2m3,集水坑有效水深应按停泵水位线与单台水泵启泵水位线之差计算。
【解决问题】明确消防电梯集水坑有效水深。
7.3.4 地漏或拖布池不应作为自动喷水灭火系统试验排水设施。
【解决问题】明确不能作为自动喷水灭火系统试验排水设施的方式。
7.3.5供消防车直接取水的取水口管径不应小于DN400。当设置取水井时,消防水池与取水井的连通管管径不应小于DN200,管长不宜大于50米。
【解决问题】取水口管径偏小的问题。
7.3.6设置消防车取水口确有困难时,当消防水池检修人孔满足规范规定的取水条件要求时,检修口可直接作为消防车取水口;当不能满足时,可采用取水栓代替取水口,其吸水管的管口应位于最低有效水位线以下,并应满足淹没深度的要求,取水栓口可采用专用产品;当采用室外消火栓作为取水栓口时,必须将泄水孔封闭或改为手动泄水阀,取水栓口铭牌上应注明“消防水池取水口”。
【解决问题】消防水池检修人孔确有困难时可作为取水口以及取水口的替代做法。
7.4自动灭火系统
7.4.1 高层住宅建筑的地下室,分隔成供各住户独立使用的储藏间(住宅套内的地下室除外)或自行车库(不含电动自行车库),当该住宅建筑(群)设有自动喷水灭火系统时,地下室应按中危险级Ⅰ级设置自动喷水灭火系统;当该住宅建筑(群)未设自动喷水灭火系统时,地下室可不设置自动喷水灭火系统。
【解决问题】高层住宅建筑的地下室是否设置自动喷水灭火系统。
7.4.2 机械停车库自动喷水灭火系统设计流量计算时应附加车架内喷头流量,当仅有一层车架时,附加喷头数量按6只计算;当为二层及以上车架时,附加喷头数量按12只计算。
【解决问题】机械停车库自动喷水灭火系统设计流量的计算。
7.4.3 机械车库车架托板处喷头,可参照货架式仓库喷头选型,采用K=115边墙型扩大覆盖面积洒水喷头或K=80扩大覆盖面积洒水喷头,喷头最低工作压力K=115不应小于0.10MPa,K=80不应小于0.20MPa。
【解决问题】机械停车库车架托板处喷头选型及喷头最低工作压力的确定。
7.4.4 高层住宅建筑供本楼使用的低压配电室、弱电机房不属于特殊重要设备室。
【解决问题】高层住宅建筑供本楼使用的低压配电室、弱电机房是否设置气体灭火系统问题。
7.4.5 通透性吊顶场所,当通透面积占吊顶总面积的比例不大于70%时,在吊顶上下方均应布置喷头。
【解决问题】通透性吊顶场所的喷头布置。
7.4.6 独立建造的大、中型幼儿园及老年人照料设施,应设置自动喷水灭火系统,此类建筑也应设置室内消火栓系统。
【解决问题】独立建造的大、中型幼儿园及老年人照料设施是否设置室内消火栓系统。
7.4.7 柴油发电机房设置自动喷水灭火系统时,储油间应设喷头保护。柴油发电机房和储油间也可采用水喷雾灭火系统、细水雾灭火系统等。
【解决问题】柴油发电机房除设置自动喷水灭火系统外,还可采用其它自动灭火设施。
7.4.8 自动扶梯可仅在扶梯最下部设置自动喷水灭火系统喷头保护。
【解决问题】自动扶梯如何设置自动喷水灭火系统喷头的问题。
7.4.9 平战结合的人防工程的防化值班室、滤毒室、防毒通道、密闭通道及简易洗消间等部位,可不设置自动喷水灭火系统喷头保护。
【解决问题】平战结合的人防工程哪些部位可不设置自动喷水灭火系统喷头。
7.4.10 一类高层公共建筑中不计入建筑高度、建筑层数,局部突出屋顶的排风、排烟机房、水箱间、电梯机房等设备间,可不设自动灭火系统和室内消火栓系统。加压送风系统、补风系统与通风空气调节系统共用的系统,排烟系统与通风空气调节系统共用的系统,其合用机房应设置自动喷水灭火系统。
【解决问题】局部突出屋顶的设备用房是否设置自动喷水灭火系统的问题。
7.4.11 二类高层宿舍建筑的公共活动用房、走道应设置自动喷水灭火系统,居室内可不设置喷头。
【解决问题】二类高层宿舍建筑如何设置自动喷水灭火系统喷头的问题。
7.4.12 总建筑面积大于 3000 ㎡,局部设置送回风道(管)的集中空气调节系统的单、多层公共建筑,自动喷水灭火系统设置应符合以下要求:
1. 设有送回风道(管)的集中空气调节系统服务的建筑面积大于3000㎡,整座楼除不适宜用水灭火的部位外,均应设置自动喷水灭火系统;
2. 设有送回风道(管)的集中空气调节系统服务的建筑面积不大于 3000㎡,可不设置自动喷水灭火系统。
3.集中空气调节系统服务的建筑面积按照以下方法确定:单个防火分区内,当设置送回风管道的集中空气调节系统的局部区域与其他区域采用防火隔墙或甲、乙级防火门等分隔措施分隔时,服务面积可按设置集中空调系统的局部区域建筑面积进行累加确定,否则应按该防火分区的建筑面积确定。
【解决问题】对于总建筑面积大于 3000 ㎡,局部设置送回风道(管)的集中空气调节系统,单、多层公共建筑是否设置自动喷水灭火系统的问题。
7.4.13 消防控制室可不设自动灭火系统,但应按照现行国家标准《建筑灭火器配置设计规范》GB50140的要求配置灭火器。
【解决问题】消防控制室是否设置自动灭火系统的问题。
7.4.14 民用建筑内附属的库房(除为高层住宅服务的地下室储藏间),其自动喷水灭火系统的危险等级可按中危险Ⅱ级确定;自选商场、大卖场、仓储式商场等及其附属库房,其设计应按现行国家标准《自动喷水灭火系统设计规范》
GB50084中的仓库设计参数确定。
【解决问题】民用建筑内的附属库房自动喷水灭火系统危险等级的确定。
7.5 其它
7.5.1 残疾人康复中心应按照医疗建筑设置相应的消防灭火设施。
【解决问题】残疾人康复中心建筑防火分类的确定。
7.5.2 按《建规》第8.2.4条的要求,应设消防软管卷盘或轻便消防水龙的建筑,可以与室内消火栓系统合用,设在消火栓箱内。
【解决问题】应设消防软管卷盘或轻便消防水龙的建筑,可以与室内消火栓系统合用。
7.5.3银行除金库内可不设消防灭火设施外,其它区域应按照相关规范设置消防设施。
【解决问题】银行金库内消防设施的设置。
8 防烟和排烟
8.1总则
8.1.1屋顶不具备设置专用机房条件时,可将消防风机设在满足防护、通风散热及检修要求的防护罩内或设置在装配式风机房内,防护罩的耐火极限不应低于1.00h。
【解决问题】屋顶不具备设置专用机房条件时的做法
8.1.2多个系统共用竖井时竖井截面积按下列原则计算确定:
1、加压送风系统共用进风竖井:火灾时竖井截面积按同一防火分区加压送风系统风量之和的最大值计算;
2、排烟系统共用排烟竖井:火灾时竖井截面积按最大的一个排烟系统的排烟量计算;
3、补风系统共用进风竖井:火灾时竖井截面积按一个最大补风系统的补风量计算;
4、加压与补风系统共用进风竖井:火灾时竖井截面积按 1 和 3 风量之和计算;
5、平时通风竖井与防排烟竖井共用时,竖井截面积按平时风量和火灾时风量取大值计算。
【解决问题】多个系统共用竖井时竖井截面积的计算
8.1.3通风、空调风管不应穿越建筑内楼梯间、前室等防烟部位。当受条件限制确有困难时,应采用耐火极限不低于2.00h的隔墙和1.50h的楼板进行防火分隔。
【解决问题】通风、空调风管穿越楼梯间、前室的做法
8.1.4设置气体灭火系统、细水雾灭火系统的场所,不应设置排烟设施。设置气体灭火系统的场所应设灭火后的通风设施,机械通风的风量按换气次数6~8 次/小时确定,排风口应直接通至室外。
【解决问题】设置气体灭火系统、细水雾灭火系统场所的消防设计
8.1.5事故排风风机可设于地下燃油燃气锅炉房、地下燃气厨房内,但应靠近与排风竖井等相邻的外墙设置,并应直接通向室外安全地点。
【解决问题】地下燃油燃气锅炉房、燃气厨房等用房的事故排风机设置要求。
8.2 防烟
8.2.1《防排烟标准》第3.1.3条第2款中,防烟楼梯间采用自然通风的防烟方式时,前室的加压送风口应设置在每个开向前室的疏散门上方或正对面,如条件有限,可以仅顶送或设置在正对每个开向前室疏散门的墙面,但不应正对或贴邻楼梯间疏散门(如附图1-3所示)。
附图1(X) 附图2(X)

附图3(X)
【解决问题】防烟楼梯间采用自然通风的防烟方式时,前室加压送风口的设置要求。
8.2.2建筑中无人员经常停留且无可燃物的仅供给水排水、采暖、空调水管等布置的管道设备层,除检修外平时与其他楼层竖向封闭时,该楼层可不计算在楼梯间的服务楼层数内。
【解决问题】管道设备层的楼梯间如何考虑防烟设计
8.2.3对于高层病房楼和老年人照料设施的避难间,当采用加压送风防烟时,其加压送风量不应小于30m 3/m 2·h。加压送风系统的计算送风量应按该系统服务的所有避难间计算送风量之和计算。
【解决问题】避难间加压送风系统的送风量计算
8.2.4 加压送风系统计算时,相关参数按照以下原则选取:
1、Ak取值时住宅建筑(含住宅建筑中地下储藏室、地下车库等非居住功能区域)的楼梯前室可按1个门计算。
2、对住宅建筑中的前室进行送风量计算时,子母门(户门)可以按单扇门考虑。
【解决问题】加压送风系统计算时相关参数的选取原则
8.2.5设置机械加压送风系统并靠外墙或可直通屋面的封闭楼梯间、防烟楼梯间,可仅在楼梯间的顶部或最上一层的外墙上设置不小于1m2的常闭式应急排烟窗(应具有手动和联动开启功能),具体开启结合消防救援需要确定。
【解决问题】加压送风楼梯间常闭式应急排烟窗的设置原则
8.3 排烟
8.3.1地下室空间采用自然排烟方式时,其楼层数不应超过2层,且最底层室内地面与室外出入口地坪高差应小于或等于10米。
【解决问题】地下室采用自然排烟的限定条件
8.3.2无疏散要求、无其它使用功能且周边采取了防火卷帘分隔的面积不大于300m 2的敞开楼梯、自动扶梯区域,可不设置排烟设施。
【解决问题】敞开楼梯、自动扶梯区域可不设置排烟设施的条件
8.3.3建筑中无人员经常停留且无可燃物的仅供给水排水、采暖、空调水管等布置的管道设备层,除检修外平时与其他楼层竖向封闭时可不设排烟设施。
【解决问题】管道设备层可不排烟的条件
8.3.4 同一防火分区内总长度大于20米的疏散走道,由走道内部设置的门划分为多个防烟分区时,每个防烟分区(包括长度小于20米的走道)均应设置排烟设施。
【解决问题】走道内部设分隔门时,排烟设计如何考虑?
8.3.5对于走道或回廊(含单条或多条组合),其防烟分区的长边长度可按防烟分区内任意一点沿烟气扩散路径蔓延的最大沿程距离确定,常见走道或回廊防烟分区的长边长度可参照附图 1~5确定。
附图 1 附图2
附图3 附图4
附图5
【解决问题】走道防烟分区长边长度的计算
8.3.6电影院、剧场、音乐厅的观众厅排烟量应按《电影院建筑设计规范》(JGJ58-2008)第6.1.9条(按90m 3/(m 2 .h)或13次/h换气次数计算取大值)和《防排烟标准》第4.6.3 条分别进行计算,并取其中的最大值作为计算排烟量。
【解决问题】电影院、剧场、音乐厅的观众厅排烟量计算
8.3.7 设置在地下或半地下、地上第四层及以上楼层的歌舞娱乐放映游艺场所,房间面积大于或等于50m2时应设置排烟口;房间面积小于50m2时宜设置排烟口,房间内不设排烟口时,相连的内走道应设置排烟口。
设置在地下或半地下、地上第四层及以上楼层的歌舞娱乐放映游艺场所,面积大于200m2的房间内应设置补风口;面积小于200m2的房间可通过相连的走道补风,但走道应有直接补风设施。
【解决问题】歌舞娱乐放映游艺场所的排烟、补风设计
8.3.8 对于地下建筑,当房间建筑面积大于或等于200m2时,房间应设置直接补风设施;当房间建筑面积小于200m2且设置了排烟口时,房间也应设置补风设施,可直接补风或通过相连的走道间接补风,当采用走道间接补风时走道应设有直接补风设施。
【解决问题】地下建筑排烟系统的补风设置原则
8.3.9 排烟系统的补风量不宜大于该系统(防烟分区)排烟量的80%。
【解决问题】补风量的计算
8.3.10自然排烟系统应采用自然通风方式补风,自然补风口的有效面积不宜小于所在防烟分区总自然排烟有效面积的1/2。
【解决问题】自然排烟系统的补风设计
8.3.11 直通室外带门斗的外门,不得作为自然排烟设施,可作为自然补风设施。
【解决问题】直通室外带门斗的外门,能否作为自然排烟设施和自然补风设施?
9电气消防
9.1供配电系统
9.1.1民用建筑的消防负荷和非消防负荷共用柴油发电机组时,消防负荷专用回路由该建筑电源进线处的低压配电室起开始自成系统。
【解决问题】确定消防负荷和非消防负荷共用柴油发电机组时消防负荷设专用的回路起点位置。
9.1.2消防二级负荷应由两回路10kV电源或一路10kV专用电源的两台变压器的两个低压回路、一路10kV电源的一台变压器与主电源不同变电系统的两个低压回路在最末一级配电箱自动切换供电。
【解决问题】明确消防二级负荷供电要求。
9.1.3除应急照明、挡烟垂壁、防火卷帘、消防排污泵供电回路外,对于因过负荷引起断电而造成更大损失的消防供电回路,过负荷保护应作用于信号报警,不应切断电源,报警信号应传至有人值班的场所。
【解决问题】确定不属于过负荷引起断电而造成更大损失的供电回路。
9.1.4除按照三级负荷供电的消防用电设备外,消防应急照明、挡烟垂壁、电动排烟窗、防火卷帘可由设置在同一竖向位置不同楼层的电气竖井内消防双切箱供电。
【解决问题】确定GB55037-2022中10.1.6消防双电源配电箱设置位置。
9.1.5 安装在现场的防火卷帘、排烟窗、电动挡烟垂壁、消防潜污泵、消防炮等控制箱(柜)应满足该消防设备火灾发生期间最小持续工作时间要求,不满足时应设在相应防火分区配电间或竖井内。
【解决问题】规定消防控制箱安装在现场时应满足的要求。
9.1.6消防排污泵控制箱当条件受限安装在封闭楼梯间或防烟楼梯间时,应明装在最底层且不应影响疏散。
【解决问题】规定消防潜污泵控制箱安装要求。
9.1.7 除商业服务网点外,住宅建筑与其他使用功能的建筑合建为组合建筑时, 该建筑消防电源的负荷等级应根据该建筑的总高度和建筑规模按《建规》第 5.4.10.3 条执行。
【解决问题】组合建筑消防电源负荷等级如何确定。
9.1.8 供给消火栓、喷淋管道防止冻裂的电伴热用电,不属于消防负荷,当建筑内消防负荷等级为二级以上时,其负荷等级不应低于二级负荷。
【解决问题】明确电伴热负荷属性。
9.1.9 独立设置的消防控制室、消防水泵房、柴油发电机房建筑,在保证用电负荷容量和用电安全的前提下,为本消防设备用房服务的空调电源、检修插座等负荷可由设备用房消防双电源配电箱供电。
【解决问题】独立机房非消防设备的供电电源要求。
9.2消防应急照明系统
9.2.1当建筑内的消防设备仅包含消防应急照明时,二级负荷的消防应急照明电源可由一个电源加蓄电池电源配电。
【解决问题】确定消防应急照明自带蓄电池可作为第二路电源。
9.2.2 第二电源采用柴油发电机供电时,消防控制室、消防水泵房、自备发电机房、配电室、防排烟机房以及发生火灾时仍需正常工作的消防设备用房的备用照明灯具应自带蓄电池,并应满足转换时间要求。
【解决问题】确定备用照明灯具应自带蓄电池。
9.2.3 消防应急照明集中电源不应设在消防风机房。
【解决问题】消防应急照明集中电源设置位置。
9.2.4 剪刀楼梯间两部楼梯设置的消防应急灯具,均应单独设置配电回路。
【解决问题】明确剪刀楼梯间配电回路的设计要求。
9.2.5 火灾状态下,自动扶梯上方或侧上方设置的消防应急灯具光源应急点亮的响应时间不应大于 0.25s,不满足要求时,应选择持续型灯具,并应确保灯具的光源始终处于应急点亮的状态。
【解决问题】自动扶梯按高危险场所设计。
9.2.6 地下车库 A 型消防应急标志灯具的设置: 1、设置在疏散通道上方吊装,标志面与车行方向垂直; 2、设置在疏散通道两侧,距地 1 米以下的墙面、柱面上。
【解决问题】明确地下车库不同部位方向标志灯设置要求。
9.2.7 地下车库设置的车行道指示灯,不应接入消防应急照明和疏散指示系统。
【解决问题】明确车行道指示灯不属于消防应急灯具。
9.2.8 下列商业服务网点应设置消防应急照明灯具和消防应急标志灯具: 1、建筑面积大于 200m 2的营业厅; 2、商铺内最远点至通向商铺门直线距离超过 15m 或不能直接看到出口的场所。
【解决问题】确定商业服务网点要求设置消防应急灯具。
9.2.9 消防应急灯具在墙壁或顶棚设置时,任一配电回路配接灯具的数量,应按 《消防应急照明和疏散指示系统技术标准》GB51309-2018 第 3.3.5 条执行。
【解决问题】确定消防应急照明配电回路配接灯具数量执行的规范。
9.2.10 建筑内设置消防应急照明系统时,开敞式楼梯间应设应急照明和疏散指示标志灯具。
【解决问题】确定开敞式楼梯间应设消防应急灯具。
9.2.11 变配电室、消防控制室、消防水泵房、自备发电机房应设置消防应急照明和疏散指示标志灯具。
【解决问题】确定设备用房应设消防应急照明和疏散指示标志灯具。
9.2.12 电井不属于发生火灾时,仍需工作、值守的区域,可不设备用照明。
【解决问题】明确电井不属于发生火灾时,仍需工作、值守的区域。
9.2.13 不应采用蓄光型指示标志替代消防应急标志灯具。
【解决问题】明确蓄光型指示标志不能替代消防应急标志灯具。
9.2.14未设火灾报警系统的建筑,当室外设有消防控制室时,该建筑内消防应急灯具的控制方式可采用非集中控制型系统或集中控制型系统。
【解决问题】明确未设火灾报警系统的建筑消防应急灯具的控制方式。
9.2.15人员密集场所的疏散出口、安全出口附近设置的多信息复合标志灯,当面板设有疏散方向指示标志时,可兼做疏散方向标志灯。
【解决问题】确定多信息复合标志灯可兼做疏散方向标志灯条件。
9.3火灾自动报警系统
9.3.1 防火卷帘两侧设置的专用火灾探测器,报警线路可接本防火分区的报警回路或防火卷帘控制器。
【解决问题】明确防火卷帘两侧专用火灾探测器报警线路接线要求。
9.3.2 设置火灾自动报警系统的建筑,水泵房控制室或与控制柜合设的水泵房应设置火灾探测器。
【解决问题】明确水泵房要设置火灾探测器。
9.3.3 消防电梯轿厢内部应设置专用消防对讲电话,当电梯五方对讲系统主机设置在消防控制室内,且相关通信线路满足《火灾自动报警系统设计规范》 GB50116-2013 第 11.2.2 条规定时,可用电梯五方对讲的轿厢分机替代消防电梯轿厢内部专用消防对讲电话使用。
【解决问题】明确电梯五方对讲轿厢分机可替代轿厢消防对讲电话。
9.3.4 依据《建规》第 8.4.1.13 条,联动防火卷帘、常开防火门、自动排烟窗、 挡烟垂壁,可局部设置火灾自动报警装置,应发出火灾警报。
【解决问题】确定可设置局部自动火灾报警装置的情况。
9.3.5 不需要设置火灾报警系统的社区活动中心,只有局部为“老年人活动室”, 可以采用独立式烟感火灾探测报警器。
【解决问题】确定可采用独立式烟感火灾探测报警器的场所。
9.3.6设有火灾自动报警系统的住宅建筑、非人员密集的公共建筑(100米以上除外),当建筑内未设置“常开防火门”时,可不设防火门监控系统。
【解决问题】限定建筑设置防火门监控系统的要求。
9.3.7 机械加压送风系统宜设有测压装置及风压调节措施,具体根据暖通专业要求设置。
【解决问题】明确余压监控系统设置要求。
9.3.8 住宅楼梯间可以每3层设置一个应急广播扬声器,其他建筑应层层设置。
【解决问题】确定住宅楼梯间应急广播扬声器设置要求。
9.3.9 住户内设置的可燃气体探测器类型、位置与采用的燃气类别相关,该系统可自成独立系统,与火灾报警系统无关。
【解决问题】明确住户内设置的可燃气体探测系统与火灾报警系统无关。
9.3.10任一层建筑面积大于500m2或总建筑面积大于1000m2的小学宿舍等儿童活动场所应设火灾自动报警系统,小于以上面积参数的场所宜设置具有联网功能的独立式火灾探测报警器。
【解决问题】确定小学建筑或场所要设置火灾自动报警系统。
9.3.11未设置火灾自动报警系统的建筑,当园区设置有消防控制室时,消火栓按钮的动作信号应作为报警信号及启动消火栓泵的联动触发信号,由消防联动控制器联动控制消防水泵的启动。当园区未设置消防控制室时,可将消火栓按钮线直接连接至消防水泵控制柜控制消火栓泵的启动。
【解决问题】水、电专业对消火栓按钮控制要求有分歧。
9.3.12建筑物的地下部分设有火灾自动报警系统时,当地上部分不属于《建筑设计防火规范》GB 50016、《建筑防火通用规范》GB 55037、《民用建筑电气设计标准》GB51348规定设置火灾自动报警系统的建筑或场所时,可不设置火灾自动报警系统。
【解决问题】确定建筑物设有火灾自动报警系统时地上部分可不设置的条件。
9.3.13楼梯间顶部应急排烟窗,应结合消防救援的需要现场可手动开启、并应实现消防控制室联动开启。
【解决问题】确定应急排烟窗联动开启做法。
9.3.14排烟风机入口处的总管上设置的280℃排烟防火阀在关闭后通过专用控制线直接联锁控制排烟风机停止,其他280℃排烟防火阀在关闭后具备通过火灾自动报警系统应联动控制相应排烟风机、补风机停止的功能。
【解决问题】明确280℃排烟防火阀联动、联锁控制要求。
9.4 电气线路
9.4.1由消防双电源切换箱供应急照明集中电源的线缆敷设在共用电井内,该线缆可采用耐火电缆或矿物绝缘电缆。
【解决问题】敷设在共用电井内的应急照明集中电源的线缆要求。
9.4.2 《建规》第 10.1.10 条中的“电缆井、沟”是指建筑物内除变电所以外的电 缆竖井和电缆沟。
【解决问题】明确电缆井、沟的位置。
9.4.3消防电梯内设置的视频监控终端,视频线光电转换电源及线路敷设不做消防要求(除100m以上的建筑)。
【解决问题】消防电梯内设置的视频监控电源及线路不做消防要求。
9.5 其他
9.5.1 民用建筑中的柴油发电机房柴油闪点大于 60°时,属于丙类液体,不需要按照爆炸危险环境进行电气设计,储油间也无需设可燃气体探测装置。
【解决问题】确定民用建筑柴油发电机房储油间设计要求。
9.5.2固定型排气式铅酸蓄电池组和容量为100Ah以上的中倍率镉镍碱性蓄电池组、阀控式密封铅酸蓄电池容量在300Ah及以上时均应设专用蓄电池室,专用蓄电池室电力装置的设计应符合现行国家标准《爆炸危险环境电力装置设计规范》GB 50058的规定。
【解决问题】明确专用蓄电池室条件。















